NF01812/1813/1814
三支点电动叉车
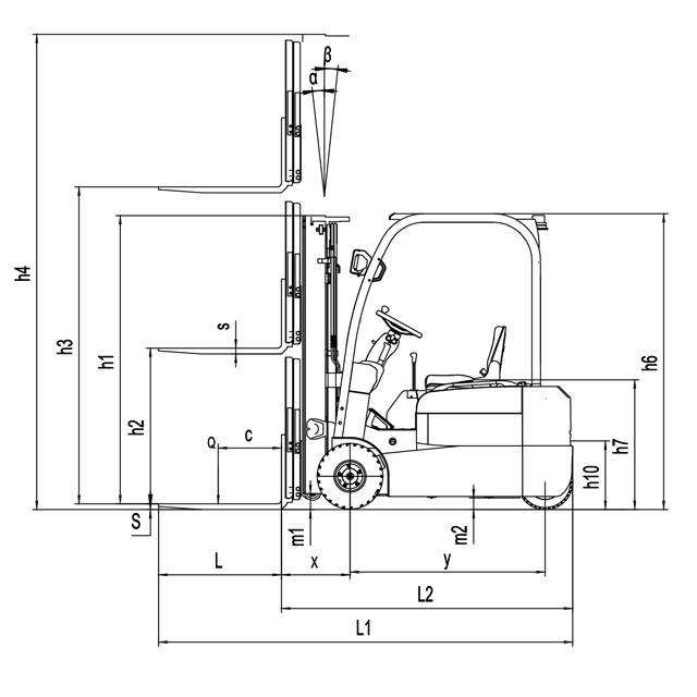
主要规格
额定载重1500-2000kg起升高度2000-6000mm转弯半径1475-1680mm整机重量3050-3430kg.
重要特色
◆低电压自动保护,延长电瓶寿命;
◆紧急断开电源,在操作失控时可轻松切断所有电源,避免紧急事故;
◆强壮的护顶架设计,作业更安全;
◆起升过载保护,液压系统防爆设计,即使油箱爆裂,门架也不会快速下降,提高安全性;
◆再生制动,斜坡防滑,保证驾驶安全;
◆可选配弯道自动减速功能,行驶更加安全;





